ELES-15J
Type sheet for industrial truck acc. to VDI 2198 | |||||
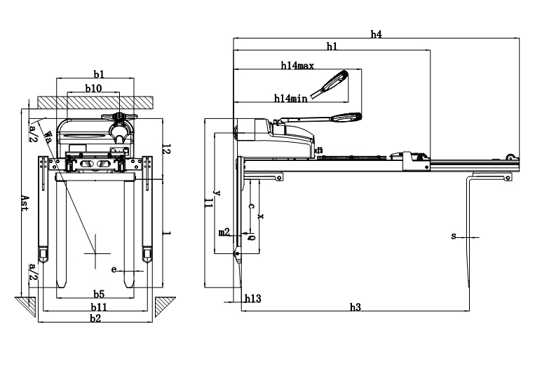
Distinguishing mark | 1.2 | Manufacturer`s type designation | ELES-15J | ||
1.3 | Power (battery ,diesel, petrol, gas, manual) | Battery | |||
1.4 | Operator type | Pedestrian | |||
1.5 | Load Capacity / rated load | Q (t) | 1.2 | 1.5 | |
1.6 | Load centre distance | C (mm) | 500 | ||
1.8 | Load distance ,centre of drive axle to fork | X (mm) | 770 | ||
1.9 | Wheelbase | Y(mm) | 1250 | ||
Weight | 2.1 | Service weight | kg | 520 | |
2.2 | Axle loading, laden front/rear | kg | |||
2.3 | Axle loading, unladen front/rear | kg | |||
Tires, chassis | 3.1 | Tires | PU | ||
3.2 | Tire size, front | Æ x w (mm) | φ210×70 | ||
3.3 | Tire size, rear | Æ x w (mm) | φ80×70 | ||
3.4 | Additional wheels(dimensions) | Æ x w (mm) | φ150×50 | ||
3.5 | Wheels, number front/rear(x=driven wheels) | 1x+1/4 | |||
3.6 | Track, front | b10 (mm) | 540 | ||
3.7 | Track, rear | b11 (mm) | 1090/1230/1370 | ||
Dimensions | 4.2 | Lowered mast height | h1 (mm) | 1530 | |
4.3 | Free Lift height | h2 (mm) | |||
4.4 | Lift height | h3 (mm) | 1910 | ||
4.5 | Extended mast height | h4 (mm) | 2490 | ||
4.9 | Height of tiller in drive position min./ max. | h14 (mm) | 700/1315 | ||
4.15 | Height, lowered | h13 (mm) | 90 | ||
4.19 | Overall length | l1 (mm) | 1750 | ||
4.20 | Length to face of forks | l2 (mm) | 680 | ||
4.21 | Overall width | b1 (mm) | 800/(1190/1330/1470) | ||
4.22 | Fork dimensions | s/e/l (mm) | 35/100/1070 | ||
4.25 | Distance between fork-arms | b5 (mm) | 210~800 | ||
4.32 | Ground clearance, centre of wheelbase | m2 (mm) | 30 | ||
4.33 | Aisle width for pallets 1000X1200 crossways | Ast (mm) | 2358 | ||
4.34 | Aisle width for pallets 800X1200 lengthways | Ast (mm) | 2302 | ||
4.35 | Turning radius | Wa (mm) | 1515 | ||
Performance data | 5.1 | Travel speed, laden/ unladen | Km/h | 4/4.5 | |
5.2 | Lift speed, laden/ unladen | m/s | 0.06/0.11 | ||
5.3 | Lowering speed, laden/ unladen | m/s | 0.09/0.06 | ||
5.8 | Max. gradeability, laden/ unladen | % | 3/7 | ||
5.10 | Service brake | Electromagnetic | |||
Electric- engine | 6.1 | Drive motor rating S2 60min | kw | 0.75 | |
6.2 | Lift motor rating at S3 4.5% | kw | 2.2 | ||
6.3 | Battery acc. to DIN 43531/35/36 A, B, C, no | ||||
6.4 | Battery voltage, nominal capacity K5 | V/Ah | 24/80(100) | ||
6.5 | B Battery weight +/-5%Energy consumption acc: to VDI cycleType of drive controlSound level at driver`s ear acc. to EN 12053
| kg | 2×25 | ||
6.6 | Energy consumption acc: to VDI cycle | kWh/h | |||
Additional data | 8.1 | Type of drive control | DC speed control | ||
8.4 | Sound level at driver`s ear acc. to EN 12053 | dB(A) | 69 | ||
Designation | Lowered mast height h1(mm) | Free Lift height h2(mm) | Lift height h3(mm) | Extended mast height h4(mm) | Lift+fork height h3+h13(mm) |
QES-ESL | |||||
Single stage mast | 2010 | — | 1510 | 2010 | 1600 |
Two stage mast | 1530 | — | 1910 | 2490 | 2000 |
1780 | — | 2410 | 2990 | 2500 | |
2030 | — | 2910 | 3490 | 3000 | |
2180 | — | 3210 | 3790 | 3300 | |
2280 | — | 3410 | 3990 | 3500 | |
Two stage mast FFL (Full-Free-Lift) | — | — | — | — | — |
Three stage mast | — | — | — | — | — |
Three stage mast FFL (Full-Free-Lift) | — | — | — | — | — |